|
|
||||||||||||||||||||||||||||














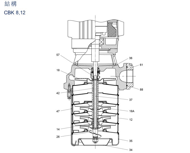
機械軸封
機械軸封由Tungsten carbide/ Tungsten carbide/Viton組成。
材質編碼
U:Tungsten carbide
碳化鎢
V:Viton
氟橡膠
軸封型式
HUUV
其它機械軸封配置,依客戶需求提供
標準
馬達規格
全封閉,風冷式,鋁合金外殼二極標準馬達。防護等級: IP 55絕緣等級: F
標準電壓: 50 Hz: 3X220-240/380-415V使用環境溫度: + 50°C
